350Z AiM PDM32 Integration
Objectives
- Enable comprehensive data logging for vehicle:
- Integrate the AiM PDM32 into the 350Z’s existing electronics for logging of factory sensor data
- Use PDM32 to add necessary sensors that do not exist on the original vehicle
- Integrate PDM32 dash into vehicle’s existing enclosures.
- Accomplish objectives with a level of workmanship that meets or exceeds OEM standards
Data desired on PDM32 Dash
- Current gear (PDM32 can infer this from vehicle speed and RPM)
- Oil Temperature
- Oil Pressure
- Coolant Temperature
- Power Steering Temperature
- Differential Temperature
- Tire Pressures
- Accelerator Pedal Position (for instructor / coach)
- Brake Pressure (for instructor / coach)
Milestones
These checklists are roughly in order of priority.
Power and Ground
- Provide direct connection to battery (ideally the battery is mounted in the trunk)
- Provide a 12v signal for “key on” signal to the PDM32
- Provide direct battery ground or chassis ground on pins 13 and 14

Signals
From OEM CAN Bus
- Low Beam / Headlights Active (added via custom CAN protocol definition)
- Throttle Plate Position (not sure if this is available without using OBD2 / KWP / UDS)
- Accelerator Pedal Position
- RPM
- Coolant Temperature
- Fuel Level
- Vehicle Speed
- Individual wheel speed
- TC arm status (not sure if this is available)
- Slip status (not sure if this is available)
These signals require that the PDM32 be connected to the OEM CAN Bus. Once that has been accomplished, many of these signals can be provided by AiM’s pre-defined protocol. Anything that exists on the OEM CAN bus but is not in protocol definition provided by AiM can be added manually.
From Sensors Connected to PDM32
- Oil Temperature and Pressure
- Power Steering Temperature
- Differential Temperature
- Brake Pressure (at Master Cylinder)
- Steering Angle
- Shock Travel
- Tire Pressures
Block Diagrams
The block diagrams provide details for each functional section of the harness for the PDM32. All harness connections will rely on DEUTSCH DT family connectors where possible. Refer to the TE Product Guide for more details on connector information.
PDM32 CAN0 (AiM CAN Bus) Block Diagram

This will be used for integrating the GPS module, the AiM CAN IO Expansion devices, and the AiM TPMS system (if used).
PDM32 CAN1 / OEM CAN Block Diagram
The OEM CAN Bus will need to be extended to allow the PDM32 to connect to it from the rear of the vehicle (The most straightforward mounting locations for the PDM32 are in the trunk or rear storage area).

The OEM CAN Bus termination resistors are in the ECM and IPDM E/R. There are junction connectors under the left and right side of the dashboard. Splitting the CAN Bus backbone / trunk and fitting DTM04-02P connectors to each side will allow the OEM configuration to be restored with a single DTM06-2S patch cable, while also allowing us to extend the CAN Bus using the same style patch cables and DTM04-2P-P007 Y connectors.
The OEM CAN Bus devices all appear to use the chassis as their reference ground connection, so a 3 wire connector isn’t used here.

The DTM04-2P-P007 Y connectors will facilitate the addition of a stub for the PDM32, as well as an additional CAN access port in the center console for debugging and reverse engineering the OEM CAN Bus while the vehicle is in operation (the OBD2 connector provides CAN Bus access but running a cable from it to a computer can be hazardous in a track environment).
PDM32 CAN2 (Non-OEM / Non-AiM Systems) Block Diagram
TBD. This will likely be used for the integration of a motorsport ABS system.
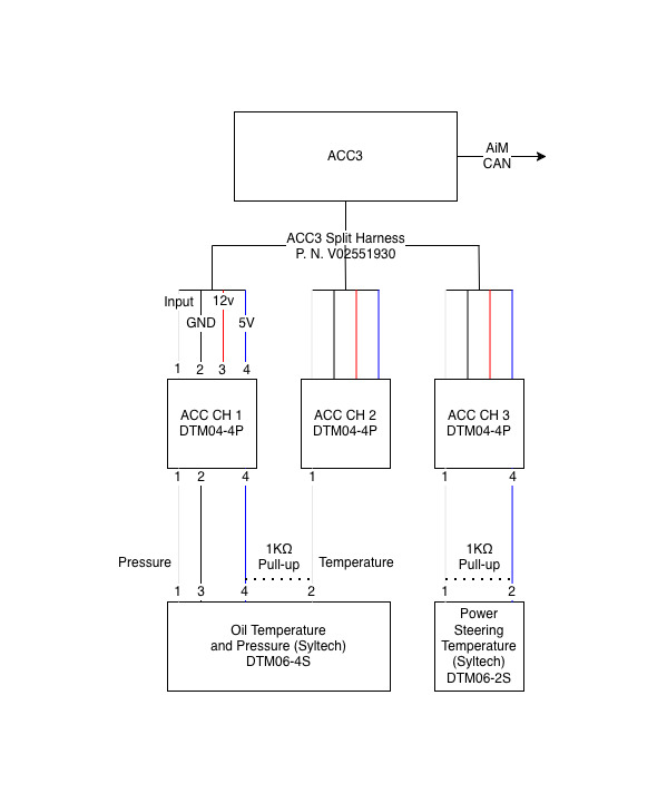
Engine Room ACC3 CAN Expansion Block Diagram

PDM32 I/O Diagram Block Diagram
TBD. This I/O is for performance tuning, currently focusing on the engine monitoring I/O for engine safety.
Sensor Information
Since the AiM PDM 32 only has 8 pins for analog channel inputs, CAN I/O Expansion is required. Channels that require higher sampling rates (like chassis sensors) will be prioritized for direct connection to the PDM32. Lower volatility signals (like fluid temperature and pressures) should use CAN expansion.
There are a lot of sensor kits sourced from Haltech. These kits are appealing because replacement sensors can be sourced from many parts stores / dealer networks instead of needing to special order replacements from a specific vendor.
If going with a motorsport sensor vendor, Syltech may be worth consideration. Their sensors are already fitted with DTM connectors and the pricing is appealing. Temperature and pressure sensors are available in 1/8 NPT which simplifies fitment.
Oil Temperature and Pressure
Oil temperature and pressure will be provided via a combination pressure and temperature sensor mounted via an oil filter thermostatic sandwich plate. For long term reliability, it may be necessary to remote mount the sensor. If a “take off” plate is used for a remote filter setup, the sensors can be remote mounted and still provide accurate temperature and pressure even if an oil cooler is not used / active.
Oil temp and pressure will require 2 channels on a CAN Bus IO Device. The Bosch sensor temperature circuit specifies a specifies a 4.6kΩ pull-up resistor, but this resistor value might be rooted in giving optimal temperature resolution for fuel temps. Since the target measurement is oil temperature, a 1kΩ will likely give better resolution in the operating temperature range.
Component Information
Sources:
Sensor:
- Bosch - PST-F 1 (also available under many other OEM part numbers)
- Syltech - MSCS-4P-G10-N8
Connector:
- Bosch - F02U.B00.751-01 (AKA Bosch Trapezoid Mating Connector)
- Syltech - DTM06-4S
Datasheets:
Power Steering Temperature
Power steering temperature will have a pre-cooler temperature sensor.
This will require 1 channel on a CAN Bus IO Device.
Component Information
Sources:
Connector:
- Bosch - EV1
- Syltech - DTM06-2S
Datasheets:
Brake Pressure
In the near term, one pressure sensor will be fitted to one of the unused ports on
a HFM Parts BMZ33 Brake Master Cylinder.
The HFM Parts master cylinder will not fit this car since it does not have the Brembo brakes, and therefore has a different brake booster -> master cylinder interface.
Instead this will be a sensor integrated via a banjo or tee / block.
This can be connected directly to an input channel on the PDM32 or a spare channel on the E/R ACC3. An additional channel should be left available for expanding to a dual master cylinder setup.
It is uncertain if the brake pressures require the sampling rates the PDM32 provides, but it probably doesn’t hurt and it saves us from buying another CAN I/O expansion device.
It is also worth considering which ABS solution the car will be upgraded with down the line. If going with a MK60, it is probably worth going with the compatible BMW brake pressure sensor. If a MK60E1 is to be used it has a built in sensor and broadcasts the reading via CAN, so it might be worth fast-tracking that upgrade instead of buying a discrete sensor.
Component Information
TBD
Datasheets:
Steering Angle
A string potentiometer will be affixed to the steering column.
This will be connected directly to an input channel on the PDM32.
Component Information
TBD
Shock Travel
For each wheel, a linear potentiometer will be affixed to the damper or a control arm (it should be the same on both sides per axle).
This will require 4 input channels on the PDM32.
Component Information
TBD
Tire Pressures
There are multiple effective TPMS solutions that will transmit pressure and internal temperature over CAN, so a CAN Bus stub on the PDM32’s second or third CAN network will need to be allocated for one of these systems.
Component Information
TBD
Differential Temperature
The RZ34 differential transpanted into the car comes with an OEM temperature sensor. This can be used by the PDM32 to provide a differential fluid temperature signal. For reliability and ease of repair, the temperature sensor will be re-pinned to use a Deutsch DTM04-2P connector instead of the OEM connector.
Since it is the only temperature sensor on the rear of the vehicle, it can be connected directly to the PDM32. In the future it may make sense to move it to CAN I/O.
Component Information
TBD